- Home
 - Product Items
 - Wire to Board Series
 - P1.5
 
 Product Features
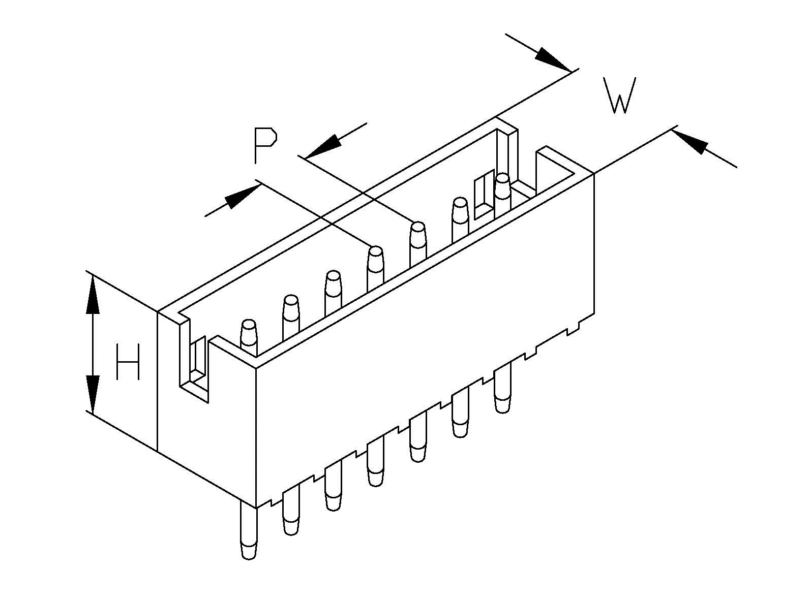
FT 
    | 圖示代碼 |  產品編號 |  W |  H |  L |  P |  D |  E |  T |  詳圖 |  配合料號 |  
  | 尺寸 ( 單位 mm ) |  
  
   | FT |  J24125PS |  1.1 |  - |  4.2 |  - |  - |  - |  0.15 |   |  - |  
  
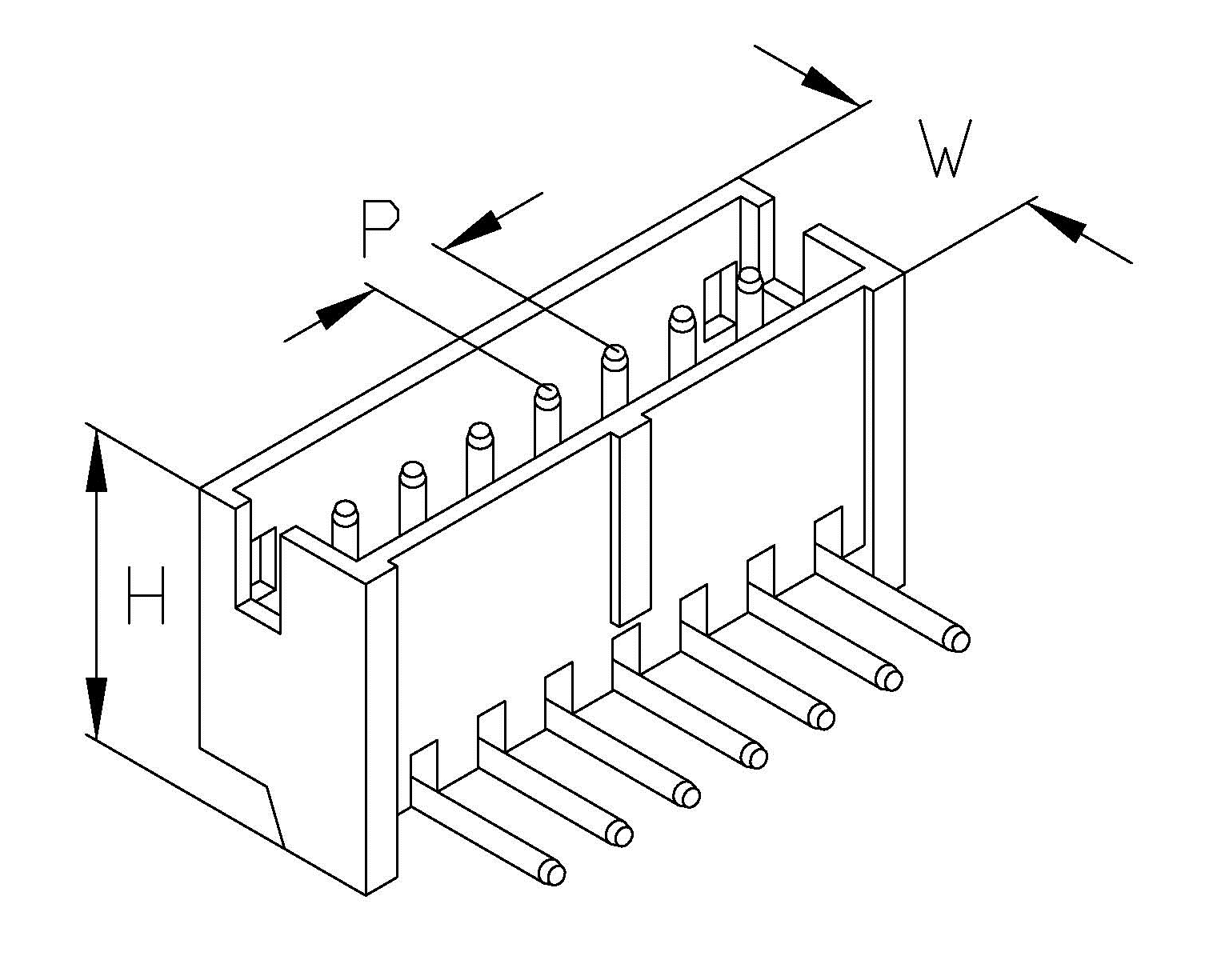
 Optional Items Features
   | 圖示代碼 |  產品編號 |  尺寸 ( 單位 mm ) |  附加檔案 |  配合料號 |  
  | W |  H |  L |  P |  D |  E |  T |  
  
   | FH |  JP24150 |  3.4 |  4.9 |  - |  1.5 |  - |  - |  - |   |  - |  
  
   | MH |  JM24150 |  3.5 |  4.5 |  - |  1.5 |  - |  - |  - |   |  - |  
  
   | MH1 |  JM24150-R |  3.7 |  6.0 |  - |  1.5 |  - |  - |  - |   |  - |